本文通過冷卻塔噪聲國家標準介紹了冷卻塔噪聲檢測規范、前期準備工作以及噪聲檢測方法。
目前冷卻塔噪聲有兩種不同的評價體系。一是我國的產品質量標準GB/T7190.1-2008和GB/T7190.2,專門針對冷卻塔設計理念和制造商。 - 2008年《玻璃鋼冷卻塔》,規定了不同循環水耗量和型號規格的設備的用戶國家標準。 GB3096-2008《噪聲標準產品質量標準》,針對不同環境區域規定了較高的聲壓。班級。如果該公司按照GB/T7190.1-2008和GB/T7190.2-2008的較高限值制造冷卻塔,則所有設備將無法滿足專門針對第二類區域的國家標準GB3096-2008。夜間噪聲≤45~50dB(A)類別,只有少數小噸位超低噪聲型冷卻塔能夠滿足部分地區夜間噪聲標準。因此,冷卻塔周邊居民和政府部門環保局要求冷卻塔用戶按照我國噪聲標準規范GB3096-2008,全面治理冷卻塔造成的噪聲污染。
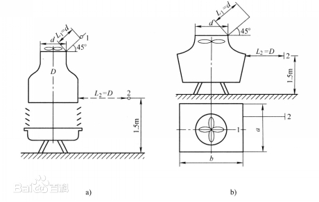
冷卻塔噪聲檢測標準中小型(單塔冷卻水消耗量≤1000m3/h)和大型(冷卻水消耗量>1000m3/h)玻璃鋼冷卻塔的噪聲檢測按具體采用以下方法,具體GB/T7190.1-2008《中小型玻璃鋼冷卻塔》和GB/T7190.2-2008《大型玻璃鋼冷卻塔》噪聲檢測方法。


以上就是工業冷卻塔維修廠家廣東康明節能空調為大家帶來(冷卻塔噪聲國家標準及噪聲測量方法,冷卻塔噪聲值)介紹,希望對大家有所幫助,更多冷卻塔資訊請繼續關注我們吧。
廣東康明節能空調是專業從事冷卻塔銷售以及配件維修主要銷售金日冷卻塔及配件維修,良機冷卻塔及配件維修,馬利冷卻塔及配件維修,BAC冷卻塔及配件維修,斯頻德,康明,明新,菱電等冷卻塔配件以及維修,廣東康明節能空調期待與您的合作!
本文鏈接:http://www.wangkuandian.cn/baike/8778.html
廣東康明節能空調有限公司
聯 系 人:
王經理
聯系電話:
13728927868
公司郵箱:
km23055667@163.com
公司地址:
深圳市龍華區龍華大道2125號衛東龍商務大廈A座1916A